Kyle Kulakowski (@velvetpainter) 's Twitter Profile
Kyle Kulakowski

@velvetpainter

UX professional, black velvet artist, researcher and gamer. Posting pop culture trivia and art. #BLM

Commissions are open! Email: [email protected]

ID: 612744852

linkhttps://www.deviantart.com/clockworkalien calendar_today19-06-2012 16:12:34

3,3K Tweet

293 Followers

1,1K Following

Kyle Kulakowski (@velvetpainter) 's Twitter Profile Photo

Completed: A velvet painting of Arby's Order of Potato cakes. I'm really enjoying the campaign's creativity! youtube.com/watch?v=iZ6kwk… Medium: UV paints on black velvet

Completed: A velvet painting of <a href="/arbys/">Arby's</a> Order of Potato cakes. I'm really enjoying the campaign's creativity! 
youtube.com/watch?v=iZ6kwk…

Medium: UV paints on black velvet
Kyle Kulakowski (@velvetpainter) 's Twitter Profile Photo

Completed: Lucy from Cyberpunk: Edgerunners on velvet, v2 on black velvet Acrylic and blacklight reactant paints on black velvet. Size: 21.5 x 14 in Completed 1/31/23 deviantart.com/clockworkalien…

Kyle Kulakowski (@velvetpainter) 's Twitter Profile Photo

Bill Cipher clearly used his power to have 'We'll Meet Again' playing in today's #Fallout London launch trailer. #TheBookOfBill youtu.be/rahBCfRdVac?si… via YouTube

Kyle Kulakowski (@velvetpainter) 's Twitter Profile Photo

The 'great man' Soos mentioned is Shawn Mullins...quoting lyrics from his 1998 song 'Lullaby' on the Soul's Core album. #BookofBill #GravityFalls youtu.be/hG9C0VwruXE?si…

The 'great man' Soos mentioned is Shawn Mullins...quoting lyrics from his 1998 song 'Lullaby' on the Soul's Core album. #BookofBill #GravityFalls  youtu.be/hG9C0VwruXE?si…
Kyle Kulakowski (@velvetpainter) 's Twitter Profile Photo

Tip: Certain passwords change the feedback when you re-enter them. Example: try entering GIFFANY repeatedly until ? #thisisnotawebsitedotcom #GravityFalls

Tip: Certain passwords change the feedback when you re-enter them. Example: try entering GIFFANY repeatedly until ? #thisisnotawebsitedotcom #GravityFalls
Kyle Kulakowski (@velvetpainter) 's Twitter Profile Photo

Rewatching #Wandavison before #AgathaAllAlong? Watch my vid for an Easter Egg in Episode 7 that EVERY breakdown channel missed: youtu.be/rlsZ6PkfA10

Kyle Kulakowski (@velvetpainter) 's Twitter Profile Photo

Boosting for those rewatching #Wandavison before #AgathaAllAlong...an Easter Egg in Episode 7 that EVERY breakdown channel missed: youtube.com/watch?v=rlsZ6P…

Boosting for those rewatching #Wandavison before #AgathaAllAlong...an Easter Egg in Episode 7 that EVERY breakdown channel missed: youtube.com/watch?v=rlsZ6P…
Kyle Kulakowski (@velvetpainter) 's Twitter Profile Photo

Found ye olde League of Legends Summoner Showcase that had my black velvet Cho'Gath painting in it: youtu.be/epSUmuVIYbU?si… via YouTube

Found ye olde League of Legends Summoner Showcase that had my black velvet Cho'Gath painting in it: youtu.be/epSUmuVIYbU?si… via <a href="/YouTube/">YouTube</a>
Kyle Kulakowski (@velvetpainter) 's Twitter Profile Photo

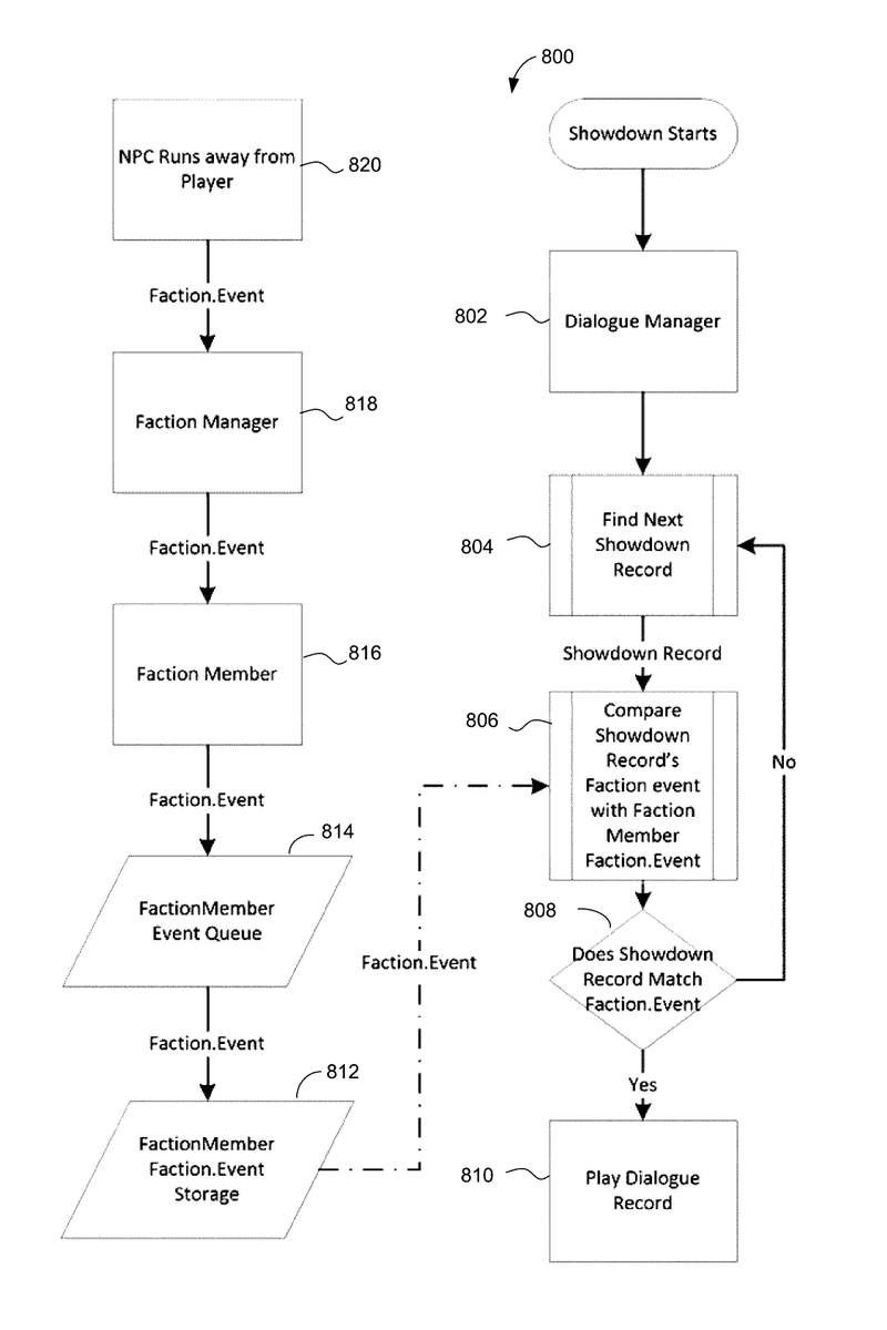
grimm The patent #US20160279522A1 is WBs one for the nemesis system and it has some interesting flowcharts: patents.google.com/patent/US20160…

<a href="/ExileGrimm/">grimm</a> The patent #US20160279522A1 is WBs one for the nemesis system and it has some interesting flowcharts:  patents.google.com/patent/US20160…