Fran Castro (@francastrokw) 's Twitter Profile
Fran Castro

@francastrokw

Tras varios años trabajando como lead para Google en GMB y Google Ads. He vuelto a la tierra que me vio nacer📍 GBP Diamond Expert #GoogleMyBusiness #SEOLocal

ID: 171490338

linkhttps://support.google.com/business/profile/9074196 calendar_today27-07-2010 13:29:31

519 Tweet

693 Takipçi

373 Takip Edilen

Fran Castro (@francastrokw) 's Twitter Profile Photo

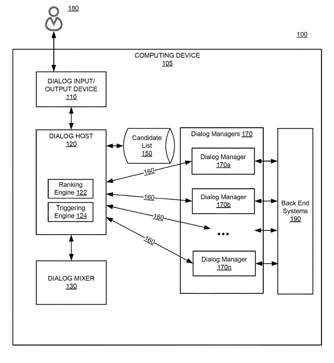
💡 Dejo por aquí una interesante patente de #Google sobre la gestión de diálogos en tiempo real con asistentes electrónicos. Diálogos en tiempo real y no por turnos. acortar.link/IxgKAZ

💡 Dejo por aquí una interesante patente de #Google  sobre la gestión de diálogos en tiempo real con  asistentes electrónicos. Diálogos en tiempo real y no por turnos.
acortar.link/IxgKAZ
Whitespark (@whitespark) 's Twitter Profile Photo

🆕 Google is testing SMS and WhatsApp messaging for GBPs. Businesses can add their numbers in a new "chat" section for Google Maps and Search. 📌 first spotted by Fran Castro 📸 screenshot by Molly Youngblood #seo #localseo

🆕 Google is testing SMS and WhatsApp messaging for GBPs.

Businesses can add their numbers in a new "chat" section for Google Maps and Search.

📌 first spotted by <a href="/FrancastroKW/">Fran Castro</a>
📸 screenshot by <a href="/mygeigermeister/">Molly Youngblood</a>

#seo #localseo
ClaudiaT (@claudiatomina) 's Twitter Profile Photo

First time seeing an attribute get denied with a emailed response. Apparently you are not considered small business if you are part of a chain or franchise. This particular location has 5 total. I would still consider that small business ⁉️

First time seeing an attribute get denied with a emailed response.  Apparently you are not considered small business if you are part of a chain or franchise.  This particular location has 5 total.  I would still consider that small business ⁉️
Fran Castro (@francastrokw) 's Twitter Profile Photo

Recently, we have noticed that call statistics have stopped appearing on some business profiles. Although it is not happening on all profiles, it is occurring on profiles with different categories. #GBP #GoogleBusinessProfile

Recently, we have noticed that call statistics have stopped appearing on some business profiles. Although it is not happening on all profiles, it is occurring on profiles with different categories. #GBP #GoogleBusinessProfile
Fran Castro (@francastrokw) 's Twitter Profile Photo

El mes pasado #Google celebró el evento expertos de producto en sus oficinas en Zurich. Algo que me hizo especial ilusión, fue conocer en persona a John Mueller y poder hablar con él sobre #SEO. #GoogleMyBusiness #SEOlocal #GoogleBusinessprofile

El mes pasado #Google celebró el evento expertos de producto en sus oficinas en Zurich. Algo que me hizo especial ilusión, fue conocer en persona a John Mueller y poder hablar con él sobre #SEO. #GoogleMyBusiness #SEOlocal #GoogleBusinessprofile
Fran Castro (@francastrokw) 's Twitter Profile Photo

Las estadísticas de llamadas vuelven a aparecer. Tras confirmar hace dos días que se trataba de un bug, #Google ya lo ha solucionado. Todo indica que al eliminar la funcionalidad "call history"arrastraron también las estadísticas de llamadas. #GBP #SEO #SeoLocal #GoogleMyBusiness

Las estadísticas de llamadas vuelven a aparecer. Tras confirmar hace dos días que se trataba de un bug, #Google ya lo ha solucionado. Todo indica que al eliminar la funcionalidad "call history"arrastraron también las estadísticas de llamadas. #GBP #SEO #SeoLocal #GoogleMyBusiness
Shripad Deshmukh (@shripadde) 's Twitter Profile Photo

🚀 Noticed something new today! #GoogleBusinessProfile is now asking for delivery info for products added via GMB. 📦 Looks like GBP is evolving into a full-fledged mini eCommerce store, getting even closer to #MerchantCenter! Exciting times ahead for local businesses! 💼 #GBP

🚀 Noticed something new today! #GoogleBusinessProfile is now asking for delivery info for products added via GMB. 📦 Looks like GBP is evolving into a full-fledged mini eCommerce store, getting even closer to #MerchantCenter! Exciting times ahead for local businesses! 💼 #GBP
Fran Castro (@francastrokw) 's Twitter Profile Photo

I think this is... new?. PDF filetype is now natively supported .  PDF will automatically be converted into images and shown on the menu tab of your listing. Barry Schwartz Joy Hawkins Krystal Taing Adentity support.google.com/business/threa…

I think this is... new?. PDF filetype is now natively supported .   PDF will automatically be converted into images and shown on the menu tab of your listing. <a href="/rustybrick/">Barry Schwartz</a> <a href="/JoyanneHawkins/">Joy Hawkins</a> <a href="/krystal_taing/">Krystal Taing</a> <a href="/AdentityES/">Adentity</a> 

support.google.com/business/threa…
Barry Schwartz (@rustybrick) 's Twitter Profile Photo

Google testing DMA changes in Europe where it is also removing map features for hotel listings and more seroundtable.com/google-dma-tes… maybe this is some of what Lluc B. Penycate Ⓐ has been spotting?? and rare forum post from Gary 鯨理/경리 Illyes (so official, trust me)

Google testing DMA changes in Europe where it is also removing map features for hotel listings and more seroundtable.com/google-dma-tes…  maybe this is some of what <a href="/Lluc_SEO/">Lluc B. Penycate Ⓐ</a> has been spotting?? and rare forum post from <a href="/methode/">Gary 鯨理/경리 Illyes (so official, trust me)</a>