@mariosantamaria.bsky.social (@m_msanta) 's Twitter Profile
@mariosantamaria.bsky.social

@m_msanta

𝕀 𝕨𝕖𝕟𝕥 𝕥𝕠
→ bsky.app/profile/marios…
→ mstdn.social/@santa
→ mariosantamaria.net

ID: 1650314828

linkhttp://www.mariosantamaria.net calendar_today06-08-2013 13:10:24

6,6K Tweet

1,1K Followers

2,2K Following

regine debatty (@wmmna) 's Twitter Profile Photo

"Vox ex Machina" charts the historical development of voice synthesisers, investigating their limitations, considering the implications of adopting a tech that apes the human voice and drawing parallels with current home assistants & prosthetics we-make-money-not-art.com/vox-ex-machina… The MIT Press @mitpress.bsky.social

@mariosantamaria.bsky.social (@m_msanta) 's Twitter Profile Photo

Last week in Bergen doing a show together with @alexsaum following a pulse of light crossing the ocean at Universitetsmuseet thanks to the Center for Digital Narrative.

Last week in Bergen doing a show together with @alexsaum following a pulse of light crossing the ocean   at <a href="/UiB_museet/">Universitetsmuseet</a> thanks to the Center for Digital Narrative.
@mariosantamaria.bsky.social (@m_msanta) 's Twitter Profile Photo

Algunas fotos del pasado 14 de oct, una nueva ediciĂłn de internetour.com, de ruta turĂ­stica por la infraestructura fĂ­sica de Internet en la BahĂ­a de San Francisco. Colab con Alex Saum y gracias al Berkeley Center for New Media y el Arts Research Center pics: Laurie Macfee

Algunas fotos del pasado 14 de oct, una nueva ediciĂłn de internetour.com, de ruta turĂ­stica por la infraestructura fĂ­sica de Internet en la BahĂ­a de San Francisco. Colab con Alex Saum y gracias al Berkeley Center for New Media y el Arts Research Center
pics: Laurie Macfee
charlotte kent (@lucy2scribbles) 's Twitter Profile Photo

Have you all seen the new and GORGEOUS website for The Brooklyn Rail ? If not check it out! So much easier to browse the different arts section, as for example in Art & Technology ;) covering the gamut from "AI" to XR brooklynrail.org/section/art-te…

Have you all seen the new and GORGEOUS website for <a href="/TheBrooklynRail/">The Brooklyn Rail</a> ? If not check it out! So much easier to browse the different arts section, as for example in Art &amp; Technology ;) covering the gamut from "AI" to XR  brooklynrail.org/section/art-te…
aksioma (@aksiomaorg) 's Twitter Profile Photo

Next week we are opening a group exhibition curated by Maja Burja for PXXP•XXV: Speculation and Decay, the 25th ed. of the international festival of contemporary art practices #Pixxelpoint. Nova Gorica (SI) & Gorizia (IT), 7–17 November 2024 pixxelpoint.org

@mariosantamaria.bsky.social (@m_msanta) 's Twitter Profile Photo

Speculation and Decay Curated by Maja Burja pixxelpoint.org #Pixxelpoint W/ Maja Bojanić, Alberto Harres, Vid Koprivšek, Matej Mihevc, @OmskSocialClub, Gaia Radić, Room 69, Lex Rütten, Mario Santamaría, Dorijan Šiško, Jana Kerima Stolzer, GO! 2025 Nova Gorica - Gorizia - aksioma 🪱

Speculation and Decay
Curated by Maja Burja 
pixxelpoint.org  #Pixxelpoint

W/ Maja Bojanić, Alberto Harres, Vid Koprivšek, <a href="/MihevcMatej/">Matej Mihevc</a>, @OmskSocialClub, Gaia Radić, Room 69, Lex Rütten, <a href="/m_msanta/">Mario Santamaría</a>, <a href="/DorijanSisko/">Dorijan Šiško</a>, Jana Kerima Stolzer, <a href="/2025Go/">GO! 2025 Nova Gorica - Gorizia</a> - <a href="/aksiomaorg/">aksioma</a> 🪱
aksioma (@aksiomaorg) 's Twitter Profile Photo

THE VOID – a research project on tactical video and an audiovisual publishing venue for practice-based research – on #Pixxelpoint festival! 8-9 November. Join us! More information & live stream: pixxelpoint.org/the-void/ Institute of Network Cultures #TommasoCampagna #JordiViaderGuerreo GO! 2025 Nova Gorica - Gorizia

THE VOID – a research project on tactical video and an audiovisual publishing venue for practice-based research – on #Pixxelpoint festival! 8-9 November. Join us! More information &amp; live stream: pixxelpoint.org/the-void/

<a href="/INCAmsterdam/">Institute of Network Cultures</a> #TommasoCampagna #JordiViaderGuerreo <a href="/2025Go/">GO! 2025 Nova Gorica - Gorizia</a>
@mariosantamaria.bsky.social (@m_msanta) 's Twitter Profile Photo

Tomorrow at The Void x Pixxelpoint Festival. Eroding Boundaries: Temporal and Spatial Decay in a World Beyond Repair. networkcultures.org/events/the-voi…

Ronaldo Lemos (ćž—çşłĺľ·) (@lemos_ronaldo) 's Twitter Profile Photo

Professor Yuk Hui Yuk Hui has just published his new book called Machine and Sovereignty. The book is open access and you can read it directly from the @umnews website. The book proposes a new mode of thought called "planetary thinking". See the 🧵manifold.umn.edu/projects/machi…

@mariosantamaria.bsky.social (@m_msanta) 's Twitter Profile Photo

Este jueves Vladan Joler Vladan Joler en BAU, Centre Universitari d'Arts i Disseny 🏴 BAU Talks | Calculating Empires: A Genealogy of Technology and Power Since 1500. 14/11/24 Sala Polivalent – Edifici Pujades (Carrer de Pujades, 118) news.baued.es/ca/index.php/2…

Este jueves Vladan Joler <a href="/TheCreaturesLab/">Vladan Joler</a> en <a href="/bau_bcn/">BAU, Centre Universitari d'Arts i Disseny</a> 🏴

BAU Talks | Calculating Empires: A Genealogy of Technology and Power Since 1500. 

14/11/24 Sala Polivalent – Edifici Pujades (Carrer de Pujades, 118) 

news.baued.es/ca/index.php/2…
aksioma (@aksiomaorg) 's Twitter Profile Photo

#PXXP🛑Eroding Boundaries➕Intensity and the Conditions of Expression 🗣 Dominik Vrabič Dežman, Klara Debeljak, Room69, OMSK Social Club, Vid Koprivšek, msn gf, Alberto Harres, Dorijan Šiško, Mario Santamaría, Maks Valenčič, dj final for, Jan Kostanjevec▶️ youtube.com/playlist?list=…

#PXXP🛑Eroding Boundaries➕Intensity and the Conditions of Expression 🗣 Dominik Vrabič Dežman, Klara Debeljak, Room69, OMSK Social Club, Vid Koprivšek, msn gf, Alberto Harres, Dorijan Šiško, Mario Santamaría, Maks Valenčič, dj final for, Jan Kostanjevec▶️ youtube.com/playlist?list=…
ciberlocutorio (@ciberlocutorio_) 's Twitter Profile Photo

¿de qué está hecho internet? ¿cuánto contamina un "Alexa enciende las luces"? ¿qué es un centro de datos? Hablamos con el colectivo ecologista Tu Nube Seca Mi Rio y con Mario Santamaría open.spotify.com/episode/3P6Ig7…

@mariosantamaria.bsky.social (@m_msanta) 's Twitter Profile Photo

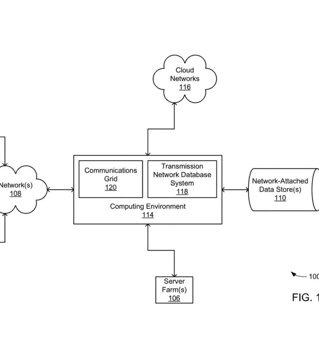
Tracing clouds through the US patent archive (1980 - 2003) #internet #internetinfrastructure #cloudplexity #thecloud #infrastructure

arnaud pessey (@arnaudpc_) 's Twitter Profile Photo

L'artiste Mario Santamaria détourne Google Street View pour reconstituer le parcours d'un câble sous-marin de fibre optique près de Barcelone. Une façon poétique de révéler l'infrastructure invisible qui porte nos données et questionner notre dépendance à ces réseaux cachés.

L'artiste Mario Santamaria détourne Google Street View pour reconstituer le parcours d'un câble sous-marin de fibre optique près de Barcelone. Une façon poétique de révéler l'infrastructure invisible qui porte nos données et questionner notre dépendance à ces réseaux cachés.