Sarah Putterman (@sputtnikme) 's Twitter Profile
Sarah Putterman

@sputtnikme

Computer science teacher, traveler.

ID: 3380794757

calendar_today17-07-2015 20:05:01

693 Tweet

165 Takipçi

473 Takip Edilen

Jack Rhysider 🏴‍☠️ (@jackrhysider) 's Twitter Profile Photo

End of year stats for Darknet Diaries for 2022. It lists top countries, top episodes, top apps that listen to the show. darknetdiaries.com/stats/ Here's to 2023. The best is yet to come.

Warner Bros. TV (@warnerbrostv) 's Twitter Profile Photo

This young Philadelphia native grew up to be an award-winning actress, writer, and comedian. Can you #GuessWho? 👀 #BlackHistoryMonth

This young Philadelphia native grew up to be an award-winning actress, writer, and comedian. Can you #GuessWho? 👀 #BlackHistoryMonth
Abbott Elementary (@abbottelemabc) 's Twitter Profile Photo

This year for #BlackHistoryMonth, #AbbottElementary is highlighting Black educators who have made many changes in our lives. Take time today to reflect on and thank those who have made a difference in you. Thank you, Ms. Abbott. ❤️

This year for #BlackHistoryMonth, #AbbottElementary is highlighting Black educators who have made many changes in our lives. Take time today to reflect on and thank those who have made a difference in you. Thank you, Ms. Abbott. ❤️
CSD Cheltenham HS (@csdcheltenhamhs) 's Twitter Profile Photo

Today is International Day of Women and Girls in Science, an annual observance adopted by the United Nations General Assembly to promote the full and equal access and participation of females in science, technology, engineering and mathematics fields. W… instagr.am/p/CohzD7PMKe_/

Today is International Day of Women and Girls in Science, an annual observance adopted by the United Nations General Assembly to promote the full and equal access and participation of females in science, technology, engineering and  mathematics fields. W… instagr.am/p/CohzD7PMKe_/
The Alchemy of Us by Ainissa Ramirez, Ph.D. (@ainissaramirez) 's Twitter Profile Photo

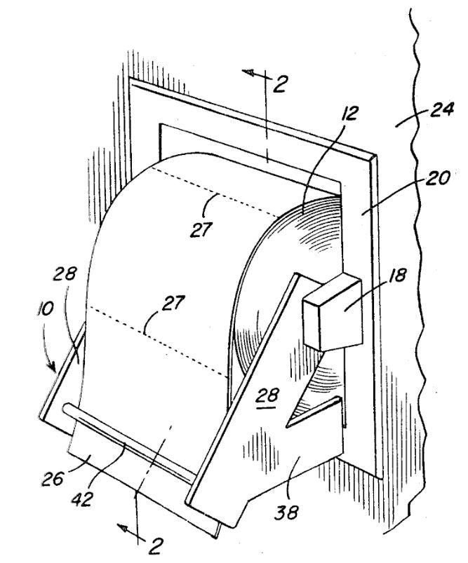
A patent for a toilet paper roll holder was issued to a Black woman inventor Mary Beatrice Davidson Kenner (US 4354643) Please note how this inventor envisioned the direction of the roll. Thank you.

A patent for a toilet paper roll holder was issued to a Black woman inventor Mary Beatrice Davidson Kenner (US 4354643)

Please note how this inventor envisioned the direction of the roll. Thank you.
Governor Josh Shapiro (@governorshapiro) 's Twitter Profile Photo

Today, I'm announcing I will not issue any execution warrants during my term as Governor. When one comes to my desk, I will sign a reprieve every time — and I’m asking the General Assembly to send me a bill abolishing the death penalty in Pennsylvania once and for all.

CYBER.ORG (@cyber_dot_org) 's Twitter Profile Photo

The CYBER.ORG Range was launched last November and has already been deployed in 48 states at 400 schools by over 700 educators. The program was made possible by Cybersecurity and Infrastructure Security Agency, ARCHIVED: Jen Easterly, Gov. John Bel Edwards and the State of Louisiana. Full update: cyber.org/news/how-cyber…

CyberStart America (@cyberstartusa) 's Twitter Profile Photo

Answer: You have free access to play CyberStart and earn scholarships for this cohort until April 4, but you can register for our next cohort in October to keep playing. 👍 #cyberstartusa #scholarships #cybersecuritycertifications #cyberstart

Answer:

You have free access to play CyberStart and earn scholarships for this cohort until April 4, but you can register for our next cohort in October to keep playing. 👍

#cyberstartusa #scholarships #cybersecuritycertifications #cyberstart
CyberStart America (@cyberstartusa) 's Twitter Profile Photo

Want to stand out from your peers in college and job applications? Keep earning points in CyberStart until April 4 to win prizes like a scholarship to SANS Foundations worth $3000! 🏆 Play now: bit.ly/400vtV5 #scholarships #cybercertifications #learncybersecurity

Want to stand out from your peers in college and job applications?

Keep earning points in CyberStart until April 4 to win prizes like a scholarship to SANS Foundations worth $3000! 🏆

Play now: bit.ly/400vtV5 

#scholarships #cybercertifications #learncybersecurity
NASA (@nasa) 's Twitter Profile Photo

Meet the first member of our #Artemis II Moon crew: mission specialist Christina H Koch! Christina Koch visited the International Space Station in 2019, where she took part in the first all-woman spacewalk. She began her career as an electrical engineer at NASA Goddard.

Meet the first member of our #Artemis II Moon crew: mission specialist <a href="/Astro_Christina/">Christina H Koch</a>! 

Christina Koch visited the <a href="/Space_Station/">International Space Station</a> in 2019, where she took part in the first all-woman spacewalk. She began her career as an electrical engineer at <a href="/NASAGoddard/">NASA Goddard</a>.
Dr. Joy Buolamwini (@jovialjoy) 's Twitter Profile Photo

The IRS is still using IDme for access to critical tax services...IDme requires you to give up your right to join a class action lawsuit even if your face data is stolen or you are accused of fraud. We deserve better. - Learn more in my open letter here: bit.ly/nocasenoface

Chase (@crobertsbmw) 's Twitter Profile Photo

If you know any kids that don't know what an XOR operator is, then please check out my book! I'm also working on the sequel, so let me know if you have any feedback for me.

Sarah Putterman (@sputtnikme) 's Twitter Profile Photo

Quick ride on ISEPTAPHILLY and I’m enjoying the free EXPO as ISTE Iin Philly. Teachers, this only happens every three years, and it’s here in town NOW!

Quick ride on  <a href="/SEPTAPHILLY/">ISEPTAPHILLY</a> and I’m enjoying the free EXPO as ISTE Iin Philly. Teachers, this only happens every three years, and it’s here in town NOW!