Daniel E Watters (@556timeline) 's Twitter Profile
Daniel E Watters

@556timeline

Small Arms Historian;
Co-author of the Vickers Guide AR-15, Volume 1, 2nd & 3rd Editions

ID: 1725664112582037504

linkhttps://scatteredshots.com/author/dewatters/ calendar_today17-11-2023 23:57:09

1,1K Tweet

977 Followers

249 Following

Daniel E Watters (@556timeline) 's Twitter Profile Photo

This is really the only way that the late pistolsmith Jim Boland worked inside the box. It appears to be a Boland California Competitor package with a red dot optic added after the fact.

Karl Beining (@kgbcustom) 's Twitter Profile Photo

The Grande Puissance, Masterfully customized by the Late Jim Garthwaite. Full Video look on our Youtube: youtu.be/SgSxCCJxfRY

The Grande Puissance, Masterfully customized by the Late Jim Garthwaite.

Full Video look on our Youtube: youtu.be/SgSxCCJxfRY
Karl Beining (@kgbcustom) 's Twitter Profile Photo

Ho ho holy cow, more nice gats?!? Small but mighty email with all sizes of 1911, and one weird round one! kgbcustom.com/currentinvento…

Ho ho holy cow, more nice gats?!? Small but mighty email with all sizes of 1911, and one weird round one!

kgbcustom.com/currentinvento…
Rock Island Auction (@riauction) 's Twitter Profile Photo

In an age of plastic and polymer, classic guns of steel and walnut feel like holding history itself, tools meant to carry stories for generations. rockislandauction.com/riac-blog/clas…

Daniel E Watters (@556timeline) 's Twitter Profile Photo

Ruger had a patent application published last week for what appears to be a successor to the SR-22. The new polymer pistol will have an enclosed hammer and a chassis system. SIG-Sauer has an interesting patent application for the P320, which will add an elastomer buffer inside

Daniel E Watters (@556timeline) 's Twitter Profile Photo

It looks like Grizzly Armament is ready to reproduce the Grizzly Win Mag pistols in the Mark I, Mark IV, and Mark V configurations. They also show the Grizzly Big Boar rifle.

Daniel E Watters (@556timeline) 's Twitter Profile Photo

Here's a drawing of the new Ruger rimfire that was published at the USPTO on Christmas Day 2025. Other drawings show an internal hammer with an enclosed mainspring, inspired by the Tokarev TT33 pistol. Another photo shows an extended, threaded barrel option. The thread

Here's a drawing of the new Ruger rimfire that was published at the USPTO on Christmas Day 2025.

Other drawings show an internal hammer with an enclosed mainspring, inspired by the Tokarev TT33 pistol.

Another photo shows an extended, threaded barrel option.  The thread
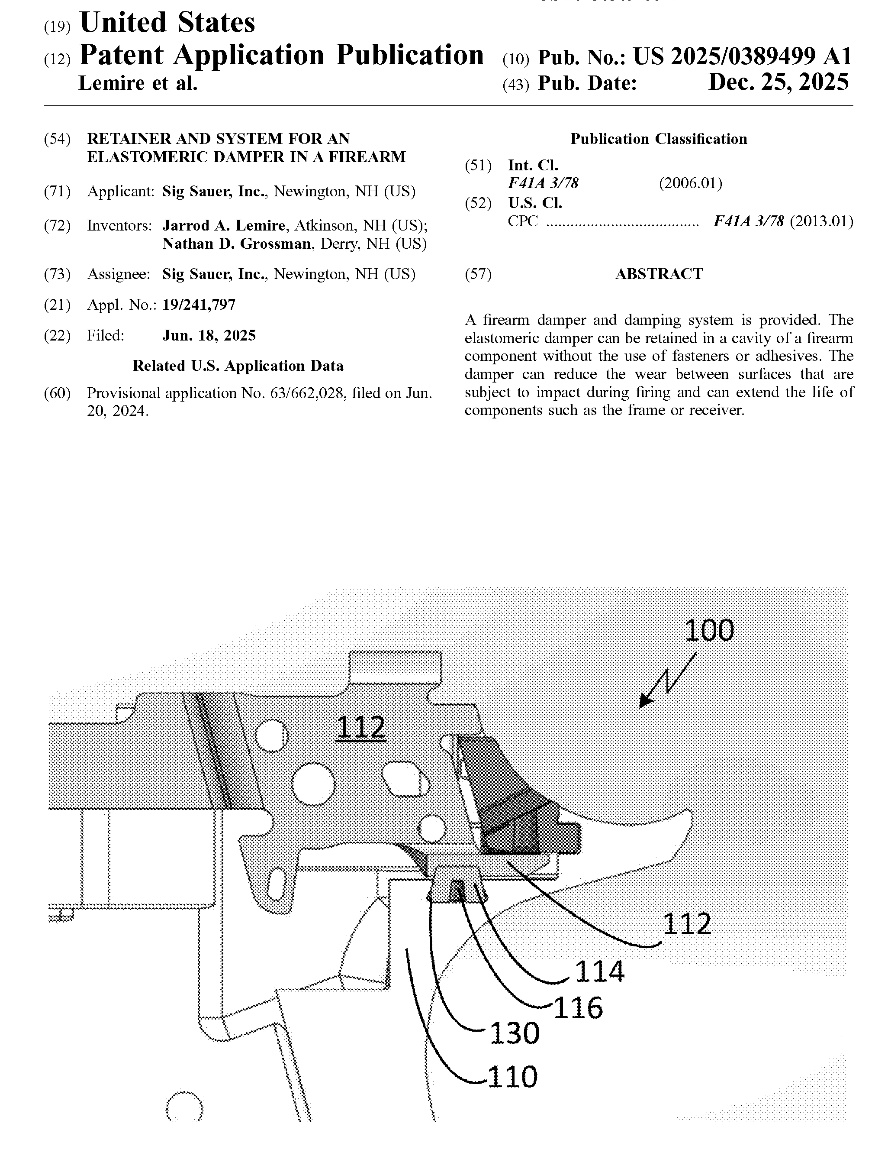
Daniel E Watters (@556timeline) 's Twitter Profile Photo

Here's a cutaway drawing of the chassis damping buffer that SIG-Sauer has designed, presumably a cure for the P320's "shake-awake" issue.

Here's a cutaway drawing of the chassis damping buffer that SIG-Sauer has designed, presumably a cure for the P320's "shake-awake" issue.
Karl Beining (@kgbcustom) 's Twitter Profile Photo

Stunner by Robert Miller, super exacting build that seems superbly well put together. Full Video look live now on Youtube: youtu.be/zaZ-mgCAtBs

Stunner by Robert Miller, super exacting build that seems superbly well put together.

Full Video look live now on Youtube: youtu.be/zaZ-mgCAtBs
Karl Beining (@kgbcustom) 's Twitter Profile Photo

Terry Tussey built a huge variety of custom pistols, this one from the late 90s is a real snapshot of what was hot at the time. Full Video look on our Youtube: youtu.be/RG-1IwO0UPo

Terry Tussey built a huge variety of custom pistols, this one from the late 90s is a real snapshot of what was hot at the time.  

Full Video look on our Youtube: youtu.be/RG-1IwO0UPo